/ Plus gyngeophæng varmgalvaniseret
Plus gyngeophæng varmgalvaniseret
FRI-NAV_2331755__102_23317552.jpg
Plus gyngeophæng varmgalvaniseret
FRI-NAV_2331755__102_23317552.jpg
Plus gyngeophæng varmgalvaniseret
FRI-NAV_2331755__102_23317552.jpg
PLUS

Plus gyngeophæng varmgalvaniseret

65 kr
Netlager - På lager
Produktbeskrivelse
Artikelnummer: 1801912
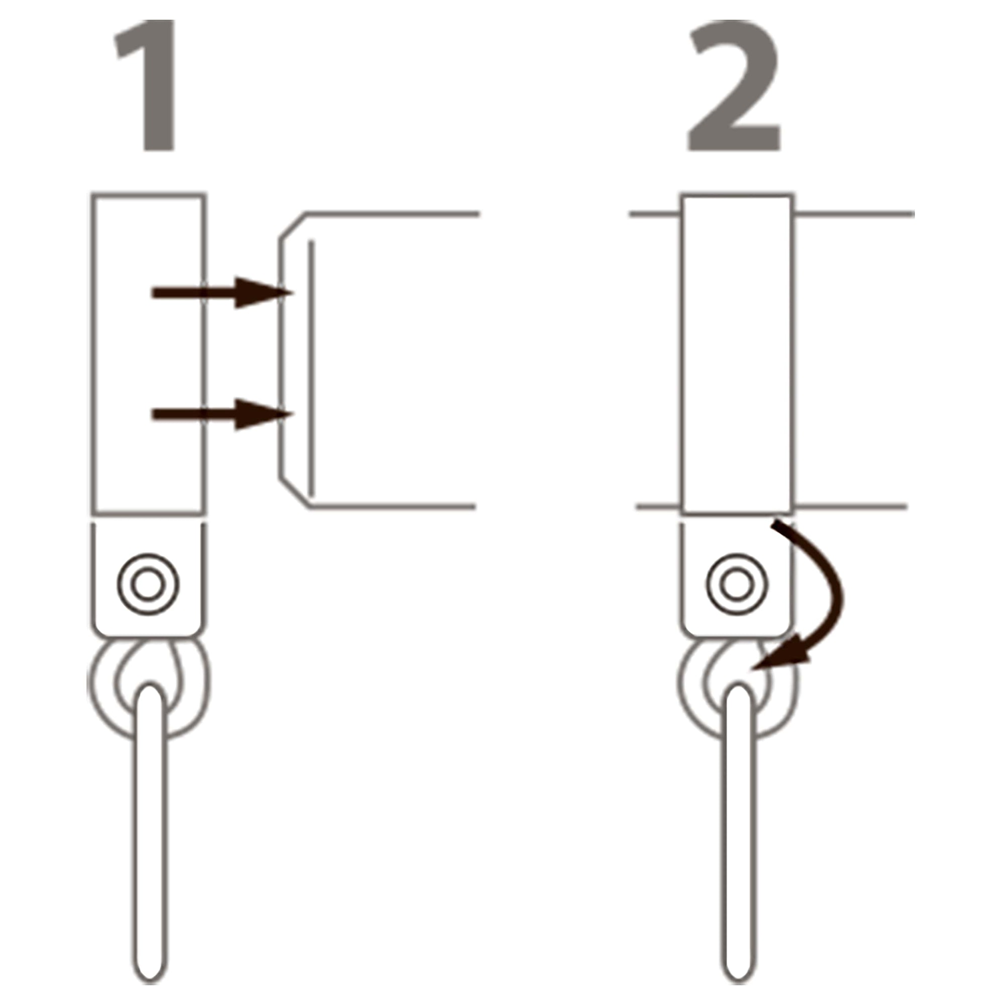
1 stk. Plus gyngeophæng i 3 mm varmgalvaniseret stål, der passer til Plus omlimede 90 x 90 mm træstolper.

Maks. belastning pr. karabinhage = 100 kg.

Tilbehør: 5×50/60 mm skrue til montage (tilkøb).